Перейти к публикации
Конференция ГАЗ-69
borh3galki

вакуумник от иж2125

Рекомендованные сообщения

Салют всем.

Успел отхватить на чермете вакуумник от ижа 2125 вместе с кронштейном педали тормоза.

Всё это прекрасно встало на место. Вакуумник вполне себе свободно расположился чуть ниже родного реле регулятора сбоку от рулевой трубы.

Вопрос по схеме подключения контуров...

В главном цилиндре три выхода:

1) первый ближе к вакуумнику (первая камера отвечала за малый контур передних дисковых тормозов, если я правильно понял из руководства по ремонту ижика, поправьте если не так)

2) второй и третий выходы в самом "конце" (задние тормоза и большой контур передних)

 

А имеем мы 4 барабанных тормоза моего газика, по одному рабочему цилиндрику на колесо.

Как лучше смонтировать тормозную систему? На какие контура лучше разбить? В какие камеры ГТЦ подключить какой контур? Отдельно задние колеса, отдельно передние или диагональю?

Поделиться сообщением


Ссылка на сообщение
Поделиться на других сайтах

Сначала в работу вступает первая камера ГТЦ (ближе к ВУТ), в нее логично подключить передние рабочие цилиндры. В одно из отверстий второй камеры вальнуть задние тормоза. Остаток заглушить. Размышления такие.

Кроме того, интересен вопрос: хватит ли силёнок у ГТЦ этого космича (диаметр вроде бы меньше) для торможения газика?

Изменено пользователем borh3galki

Поделиться сообщением


Ссылка на сообщение
Поделиться на других сайтах

А вот ГТЦ поставь уазкин, так надежней будет. У меня он стоит в паре с ВУТ от Нивы. Работает прекрасно. Что-бы педаль не проваливалась , отрегулируй длину нажимного штока ВУТа, выбери свободный ход до упора в поршень ГТЦ  ( другими словами).  Чтобы ГТЦ УАЗа сел на шпильки Нивовского ВУТа  придется поработать круглым напильником.

Поделиться сообщением


Ссылка на сообщение
Поделиться на других сайтах

Сначала в работу вступает первая камера ГТЦ (ближе к ВУТ), в нее логично подключить передние рабочие цилиндры. В одно из отверстий второй камеры вальнуть задние тормоза. Остаток заглушить. Размышления такие.

Кроме того, интересен вопрос: хватит ли силёнок у ГТЦ этого космича (диаметр вроде бы меньше) для торможения газика?

Все верно..

Силенок у него хватит, у меня от Жигоклассики стоит и хватает, Космичевый ГТЦ больше Жигулячьего (если память не врет)

Поделиться сообщением


Ссылка на сообщение
Поделиться на других сайтах

Спасибо. Сегодня надеюсь испытаем, найти только нужно бачок заливной и поставить

Поделиться сообщением


Ссылка на сообщение
Поделиться на других сайтах

Передний, задний контуры. Никаких диагоналей.

Поделиться сообщением


Ссылка на сообщение
Поделиться на других сайтах

если на передних щитах  по два РТЦ - то я бы заморочился и сделал схему тормозов аналогичную м-2140 и Нива. Там один контур давит на все четыре колеса, второй только на передние. Это наилучшее решение. При отказе любого контура передок тормозит.

Отдельно перед и зад конечно тоже неплохо, но при обрыве передка - зад тормозит просто отвратительно.

Диагонали в плане усилия торможения получше, все таки одно колесо переднее тормозит, но за то при минусовых вылетах дисков есть опасность резкого броска машины в сторону и как следствие - переворота.

 

Отдельно по вакуумнику - мое мнение Масяновский ВУТ - дерьмо. Ненадежен, усилие слабое, а пружина внутри тугая. Всегда и всем советую вакуумники от иномарок. Стоят копейки, сращиваются с ГТЦ элементарно, усиливают мощно.

 

Купив  Масяна-каблучка первое что сделал, выкинул родной ВУТ. и вставил от Тойоты вместе с ГТЦ. Сейчас на Масяне тормоза - лучшее что есть))) При этом ВУТ 1984 года выпуска! Работает великолепно.

Поделиться сообщением


Ссылка на сообщение
Поделиться на других сайтах

Про москвичевский  ВУТ  согласен на все 100% !

 

Был у меня ЛуАЗ, машинка прикольная... но со своими тараканами!

Тормоза на нем как известно москвичевские... ( колесные цилиндры, барабаны, колодки, ВУТ...)

Так вот когда ВУТ приказал долго жить... я его так и не оживил - запчасти дерьмо оказались.

Викинул его . Схему с двумя контурами оставил - поставил два отдельных цилиндра, связав их штоки поперечной осью  на которую давит педаль тормоза.

Томоза не скажу, что сильно ухудшились... видимо для "лунохода" хватало ( масса машины 950кг. )

 

P.S. Для ГАЗика... ( с его массой от 1500кг... ) из отечественных изделий просится что-то Волго-Газелевское. И в продаже везде есть, и по качеству более-менее...

У меня Волго-ВУТ стоит года с 2004... В продаже есть до сих пор. Все новые ВУТы, появившиеся в последнее время ( для Газелей ) по всем крепежным размерам взаимозаменяемы со старыми ( как у меня...) а это ГУТ!

Изменено пользователем Амиго69

Поделиться сообщением


Ссылка на сообщение
Поделиться на других сайтах

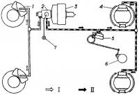
Поставил ГТЦ от газели (по одному выводу на каждую камеру).

Схема тормозной системы газель 2705:

post-26026-0-92408000-1412920399_thumb.jpg

Как видим, с первой камеры ГТЦ (ближней к ВУТу) магистраль идет к задним тормозам, со второй камеры (дальней от ВУТа) - на переднюю ветку.

Учитывая, что на на газели передние тормоза дисковые, а газике передние тормоза колодочные, всё-таки подключать 1 камеру на перед, вторую - на зад? Как предполагалось выше?

Поделиться сообщением


Ссылка на сообщение
Поделиться на других сайтах

Поставил ГТЦ от газели (по одному выводу на каждую камеру).

Схема тормозной системы газель 2705:

attachicon.gif234.jpg

Как видим, с первой камеры ГТЦ (ближней к ВУТу) магистраль идет к задним тормозам, со второй камеры (дальней от ВУТа) - на переднюю ветку.

Учитывая, что на на газели передние тормоза дисковые, а газике передние тормоза колодочные, всё-таки подключать 1 камеру на перед, вторую - на зад? Как предполагалось выше?

я так подключать буду.думаю все нормально будет

Поделиться сообщением


Ссылка на сообщение
Поделиться на других сайтах

Парни! Я вас огорчу... а может обрадую!

Давление в контурах ГТЦ - ОДИНАКОВОЕ ! И Об'ем обоих камер ГТЦ - ОДИНАКОВЫЙ! И поршни-манжеты- колечки- прокладки... там одинаковые!

А если на передней и задней оси автомобиля... требуется создать разное тормозное усилие, это достигается другими способами: разными ( по диаметру ) рабочими тормозными циллиндрами, разным типом тормозных механизмов ( дисковые или колодочные ), ну и регулятором тормозных усилий - на вашей схеме он присутствует.

Так что к какой камере подключать какой мост - не принципиально!

Изменено пользователем Амиго69

Поделиться сообщением


Ссылка на сообщение
Поделиться на других сайтах
Так что к какой камере подключать какой мост - не принципиально!

Принципиально. Потому как сначала начинает давить первый поршень, а потом второй, чтобы перед вступал в работу раньше

Поделиться сообщением


Ссылка на сообщение
Поделиться на других сайтах

 

Принципиально. Потому как сначала начинает давить первый поршень, а потом второй, чтобы перед вступал в работу раньше

 

Кстати... к первой камере ГТЦ ( к той, где первый поршень... она ближе к ВУТу) подключены... задние тормоза! ... тогда они должны вступать в работу раньше? Что-то не сходится... :scratchhead:

 

Первый поршень начинает двигаться ( но не давить!) действительно раньше... а вот давить ( т.е. создавать давление, способное привести в действие рабочие тормозные механизмы ) оба поршня начинают одновременно!

И оба контура начинают тормозить одновременно!  Если у вас исправный автомобиль...

 

ТОРМОЗИТЬ ОДНОВРЕМЕННО...НО ! 

С разным усилием, которое определяется конструкцией рабочих тормозных механизмов.

Усилие это рассчитывается исходя из массы ( которая приходится на эту ось), если масса меняется ( например изменилась нагрузка на заднюю ось, положили груз в машину... ) - есть регулятор тормозных усилий, который действует на задние тормоза.

 

Если нужно большее усилие торможения спереди ( а оно обычно нужно!) этого добиваются колличеством ( или конструкцией) передних тормозных механизмов:

- ставят ( в барабанных тормозах)  2 цилиндра на перед ( против 1 на зад) -...... УАЗ-469;

- ставят дисковые тормоза на перед ( против барабанов на зад) -........  УАЗ "Хантер",  "Патриот"

- ставят дисковые тормоза ( увеличенного размера ) на перед, против дисковых тормозов ( меньшего размера) на зад -.....  всякие иноДжипы.

Изменено пользователем Амиго69

Поделиться сообщением


Ссылка на сообщение
Поделиться на других сайтах

Рассмотрев схемы тормозных систем Волг, Газелей и УАЗов, таки небольшая истина  нашлась. 

- Если на автомобиле на переднем мосту установлены барабаны, то на ближний к ВУТу камере ГТЦ подключается передний контур

- Если передние дисковые тормоза, то к первой камере подключается задний контур. 

Поделиться сообщением


Ссылка на сообщение
Поделиться на других сайтах

Присоединяйтесь к обсуждению

Вы можете опубликовать сообщение сейчас, а зарегистрироваться позже. Если у вас есть аккаунт, войдите в него для написания от своего имени.

Гость
Ответить в тему...

×   Вставлено в виде отформатированного текста.   Вставить в виде обычного текста

  Разрешено не более 75 эмодзи.

×   Ваша ссылка была автоматически встроена.   Отобразить как ссылку

×   Ваш предыдущий контент был восстановлен.   Очистить редактор

×   Вы не можете вставить изображения напрямую. Загрузите или вставьте изображения по ссылке.

Загрузка...

×
×
  • Создать...